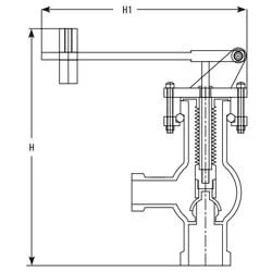
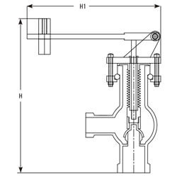
Weight Operated Pressure Relief Valve

The pressure relief valve (WPRV) is a valve used to control or limit the pressure in a system or vessel which can build up by a process upset, instrument or equipment failure, or fire.

In pressure relief valve, the pressure is relieved by allowing the pressurized gas/fluid to flow out of the system. The pressure relief valve is designed or set to open at a predetermined set pressure to protect Glass vessels and other equipment from being subjected to pressures that exceed their design limits. When the set pressure is exceeded, the pressure relief valve is forced open and a portion of the gas/fluid is released maintaining the required system pressure.

Weight operated pressure relief valve is constructed of glass and PTFE. Sealing of moving parts is effected by a PTFE bellows. The maximum recommended operating temperature is 150 C and a range of pressure as mentioned below.

It should be installed with the spindle vertical and adequate support should be given

MODEL SIZE PR. RANGE(BAR.G) APPX. HEIGHT(H) APPX. WEIGHT(H1)
WPRV-1.5 DN40 0.4/0.7/0.9 240mm 275mm
WPRV-2 DN50 0.1/0.2/0.3 270mm 275mm
Best, Top, We serve the Long Lasting, Weight Operated Pressure Relief Valve Manufacturers, Weight Operated Pressure Relief Valve sellers, in Canada, the USA, North America, Goel Scientific

* marked items are available fast.

Reactor Catalogue Lab Catalogue QVF Catalogue
Inquiry Call WhatsApp